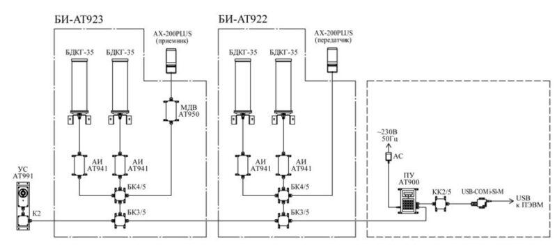
СРК-АТ2327 транспортная система радиационного контроля на основе блоков БДКГ-35 с поверкой
Типовые комплекты систем радиационного контроля (измеритель-сигнализатор) для автомобильного транспорта. В основе блока БДКГ-35 лежит пластмассовый сцинтиллятор Ø70х150 мм, количество блоков — 4 шт. Предназначены для обнаружения гамма излучения в транспортных средствах, пересекающих контрольно-пропускные пункты на въезде полигонов ТБО, ТКО, контрольно-пропускные пункты, предприятия по сбору и переработке металлолома, предприятия атомной отрасли.
















Отзывы
Отзывов пока нет.